PREVIOUS
INDEX
NEXT



 
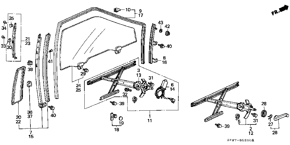
 1  REGULATOR ASSY., R. DOOR POWER
 3  REGULATOR, R. DOOR POWER
 6  MOTOR ASSY., R. WINDOW
 7  SASH ASSY., R. RR. LOWER
 8  SASH, R. FR. DOOR LOWER
 9  RUNCHANNEL, R. FR. DOOR
 9  RUNCHANNEL, R. FR. DOOR
10  CLIP, DOOR GLASS
11  REGULATOR ASSY., L. DOOR POWER
13  REGULATOR, L. DOOR POWER
14  MOTOR ASSY., L. WINDOW
15  SASH ASSY., L. RR. LOWER
16  SASH, L. FR. DOOR LOWER
17  RUNCHANNEL, L. FR. DOOR
17  RUNCHANNEL, L. FR. DOOR
18  STOPPER, DOOR GLASS
19  STOPPER
20  GARNISH, R. DOOR SASH
21  COVER, R. SASH CENTER
22  GARNISH, L. DOOR SASH
23  COVER, L. SASH CENTER
24  GLASS ASSY., R. DOOR (BLUE)
25  GLASS ASSY., L. DOOR (BLUE)
29  BOLT, FLANGE, 6X8
30  NUT, SASH COVER
31  BOLT, FLANGE, 6MM
32  BOLT, FLANGE, 6X12
33  SCREW, TAPPING, 4X10
34  SCREW, TAPPING, 4X8
35  NUT, SASH COVER
36  GROMMET, R. CENTER PILLAR GARNISH
37  GROMMET, L. CENTER PILLAR GARNISH
38  GROMMET, RR. LOWER SASH
39  BOLT-WASHER, 6X12
40  BOLT-WASHER, 6X12
41  SCREW, TAPPING, 4X16
42  NUT, FLANGE, 5MM
43  WASHER, PLAIN, 6MM