PREVIOUS
INDEX
NEXT



 
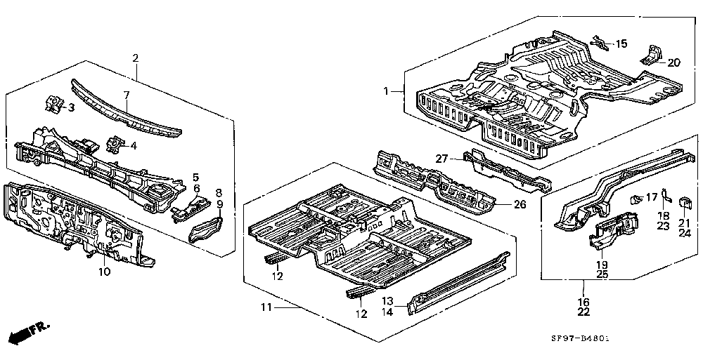
 1  PANEL SET, RR. FLOOR
 2  DASHBOARD COMP., UPPER
 3  BRACKET, WIPER PIVOT (DRIVER SIDE)
 4  BRACKET, WIPER PIVOT (PASSENGER SIDE)
 5  MEMBER, R. DASHBOARD UPPER SIDE
 6  MEMBER, L. DASHBOARD UPPER SIDE
 7  GUTTER, WINDSHIELD LOWER
 8  PANEL, R. DASHBOARD UPPER SIDE
 9  PANEL, L. DASHBOARD UPPER SIDE
10  DASHBOARD COMP., LOWER
11  FLOOR COMP., FR.
12  FRAME, FR. FLOOR
13  SILL COMP., R. FR. INSIDE
14  SILL COMP., L. FR. INSIDE
15  BRACKET, SILENCER MOUNTING (C)
16  FRAME COMP., R. RR.
17  BRACKET, RR. SILENCER MOUNTING
18  FLANGE, R. FRAME END
19  EXTENSION COMP., R. SIDE SILL
20  COVER, RR. FLOOR
21  BRACKET, R. BUMPER STAY
22  FRAME COMP., L. RR.
23  FLANGE, L. FRAME END
24  BRACKET, L. BUMPER STAY
25  EXTENSION COMP., L. SIDE SILL
26  MEMBER COMP., MIDDLE FLOOR CROSS
27  MEMBER COMP., RR. FLOOR CROSS