PREVIOUS
INDEX
NEXT



 
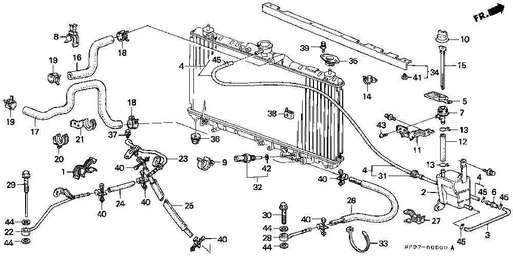
 2  TANK COMP., RESERVE
 3  HOSE, RESERVE TANK
 4  TUBE ASSY., RESERVE TANK
 5  MARK, RESERVE TANK
 6  JOINT, RESERVE TANK
 7  FILLER, COOLANT
 8  CLAMP, RESERVE TANK TUBE
10  CAP, RESERVE TANK
11  STAY, FILLER
12  TUBE, FILLER
13  CLIP, FILLER TUBE
14  CLAMP, RESERVE TANK TUBE
15  GAUGE, WATER LEVEL
16  HOSE, WATER UPPER
17  HOSE, WATER LOWER
18  CLIP, HOSE (36.5MM) (CHUO HATSUJO)
19  CLIP, WATER HOSE
20  CLAMP, WATER HOSE
31  GROMMET, ACTUATOR VENT TUBE
32  SENSOR, THERMO (A-90) (DENSO)
32  SENSOR, THERMO (A-90) (TEC)
34  SEAL, RADIATOR UPPER
35  CUSHION, RADIATOR MOUNT UPPER
36  CUSHION, RADIATOR MOUNT LOWER
38  NUT, PLATE
39  BOLT-WASHER, 6X16 (DACRO COATING)
41  CLIP, BULKHEAD UPPER SEAL
42  O-RING, 13.5X1.4
43  SCREW, TAPPING, 5X10
45  CLIP, TUBE (C11)