PREVIOUS
INDEX
NEXT



 
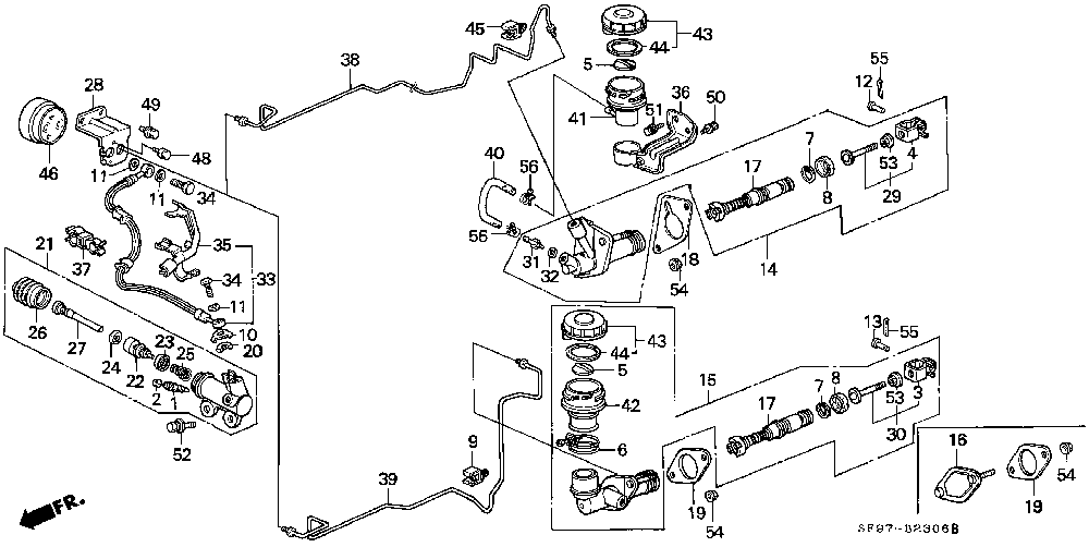
 1  SCREW, BLEEDER
 2  CAP, BLEEDER SCREW
 4  YOKE, PUSH ROD
 5  FLOAT
 7  CIRCLIP
 8  DUST SEAL, MASTER CYLINDER
10  PACKING, OIL BOLT
11  PACKING, OIL BOLT
12  PIN, PEDAL
14  CYLINDER ASSY., CLUTCH MASTER
17  PISTON ASSY.
18  SEAL, CLUTCH MASTER CYLINDER
20  PACKING, OIL BOLT
21  CYLINDER ASSY., SLAVE
22  PISTON, SLAVE CYLINDER
23  CUP A, PISTON
24  CUP B, PISTON
25  SPRING, SLAVE CYLINDER
26  BOOT, SLAVE CYLINDER
27  ROD, PUSH
28  BRACKET, DAMPER
29  ROD COMP., PUSH
31  JOINT, TUBE
32  PACKING
33  HOSE ASSY., CLUTCH
34  BOLT, CLUTCH OIL
35  CLAMP, CLUTCH HOSE
36  HOLDER, TANK
37  CLAMP, HOSE & HARNESS (GRAY)
38  PIPE COMP., CLUTCH
40  TUBE, CLUTCH FLUID
41  TANK, CLUTCH FLUID
43  CAP COMP., RESERVE TANK
44  SEAL, RESERVE TANK
45  CLIP, CLUTCH PIPE
46  DAMPER ASSY., CLUTCH
48  BOLT-WASHER, 6X12
49  BOLT-WASHER, 6X12
50  BOLT-WASHER, 6X12
51  BOLT-WASHER, 8X12
52  BOLT-WASHER, 8X16
53  NUT, HEX., 8MM
54  NUT-WASHER, 8MM
55  PIN, SPLIT, 2.0X30
56  CLIP, TUBE (A13)