PREVIOUS
INDEX
NEXT



 
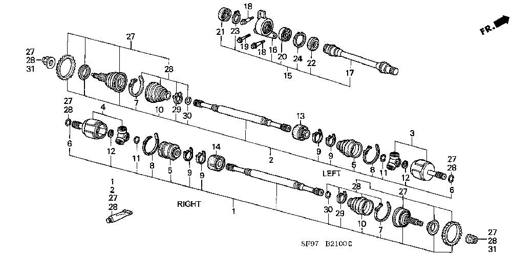
 1  DRIVESHAFT SET
 2  DRIVESHAFT SET
 3  JOINT COMP., INBOARD
 4  JOINT COMP., INBOARD
 5  BOOT, INBOARD (NOK)
 6  SET RING, 28X2.0
 7  BAND, JOINT BOOT (DOUBLE ROLLED BAND)
 8  BAND, INBOARD BOOT
 9  BAND, DRIVESHAFT BOOT
10  BOOT, OUTBOARD
11  RING A, STOPPER
12  CIRCLIP, 26MM
13  WEIGHT, DYNAMIC DAMPER
14  WEIGHT A, DYNAMIC DAMPER     frame number :  00000000-0C300937
14  WEIGHT A, DYNAMIC DAMPER     frame number :  0C300938-zzzzzzzz
15  SHAFT ASSY., HALF
16  SUPPORT COMP., HALF SHAFT
17  SHAFT COMP., HALF
18  BOLT, HEX., 10X1.25
19  BOLT, FLANGE, 10X37
20  BEARING, HALF SHAFT
21  SEAL, HALF SHAFT OUTER (ARAI)
21  SEAL, HALF SHAFT OUTER (NOK)
22  SEAL, HALF SHAFT INNER (NOK)
22  SEAL, HALF SHAFT INNER (ARAI)
23  CIRCLIP, EXTERNAL, 38MM
24  CIRCLIP, INTERNAL, 68MM
27  JOINT SET, OUTBOARD
28  BOOT SET, OUTBOARD
29  BAND, SHAFT BOOT (DOUBLE ROLLED BAND)
30  RING B, STOPPER
31  NUT, SPINDLE (24MM)