PREVIOUS
INDEX
NEXT



 
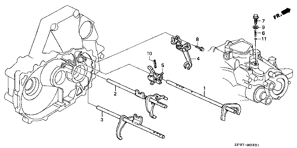
 1  FORK COMP., FIFTH GEARSHIFT
 2  FORK COMP., GEARSHIFT (3-4)
 3  FORK COMP., GEARSHIFT (1-2)
 4  HOLDER COMP., REVERSE SHIFT
 5  PIECE, FIFTH & REVERSE SHIFT
 6  SPRING A, BALL SETTING
 7  SCREW, BALL SPRING SETTING
 8  BOLT, SPECIAL, 6X22.5
 9  WASHER, DRAIN PLUG, 12MM
10  PIN, SPRING, 5X22
11  BALL, STEEL, #10 (5/16)