PREVIOUS
INDEX
NEXT



 
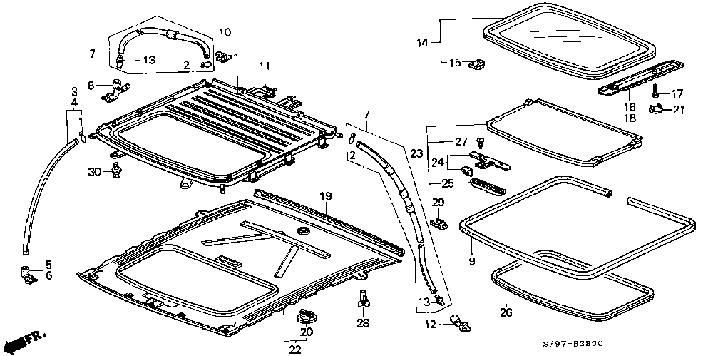
 1  CLIP, OIL DRAIN TUBE
 2  CLIP, AIR HOSE, 16MM
 4  TUBE, FR. DRAIN (SUNROOF)
 6  VALVE, FR. SLIDE ROOF DRAIN
 7  TUBE, RR. DRAIN (SUNROOF)
 8  VALVE, R. RR. DRAIN (SUNROOF)
 9  SEAL, SUNROOF FRAME
10  STOPPER, SUNSHADE
11  FRAME COMP., SUNROOF
12  VALVE, RR. SLIDE ROOF DRAIN
13  VALVE, SLIDE ROOF INNER DRAIN
14  GLASS ASSY., ROOF
15  CUSHION, FR. GLASS HOLDER
16  COVER, R. STAY (SUNROOF)
17  SCREW, STAY COVER
18  COVER, L. STAY (SUNROOF)
19  TRIM, FR. ROOF *NH91L*
19  TRIM, FR. ROOF *NH84L*
20  CAP, SUNROOF *NH91L*
20  CAP, SUNROOF *NH84L*
21  CAP, STAY COVER
22  LINING ASSY., ROOF *NH91L*
22  LINING ASSY., ROOF *NH84L*
23  SUNSHADE ASSY. *NH91L*
23  SUNSHADE ASSY. *NH84L*
24  WASHER COMP., PLATE
25  HANDLE *NH91L*
25  HANDLE *NH84L*
26  TRIM, ROOF *NH91L*
26  TRIM, ROOF *NH84L*
27  SCREW, TAPPING, 4X16
28  CLIP, TRIM, 6MM *NH84L*
28  CLIP, TRIM, 6MM *NH91L*
29  CLIP, SLIDE ROOF DRAIN TUBE
30  BOLT-WASHER, 6X12