PREVIOUS
INDEX
NEXT



 
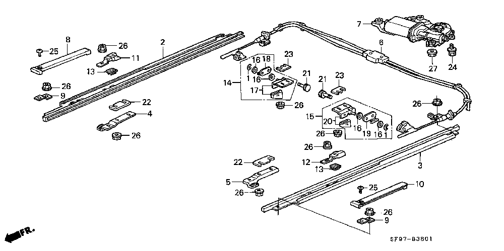
 1  E-CLIP
 2  RAIL, R. GUIDE
 3  RAIL, L. GUIDE
 4  STAY, R. FR. SUNROOF
 5  STAY, L. FR. SUNROOF
 6  CABLE ASSY., SUNROOF
 7  MOTOR ASSY., SUNROOF
 8  COVER, R. RAIL
 9  BRACKET, RAIL COVER
10  COVER, L. RAIL
11  GUIDE, R. LIFTER UPPER
12  GUIDE, L. LIFTER UPPER
13  ADJUSTER, LIFT UP
14  STAY ASSY., R. RR.
15  STAY ASSY., L. RR.
16  WASHER, 5.2X9
17  STAY, R. RR. SLIDE
18  LINK, R. LIFT UP
19  LINK, L. LIFT UP
20  STAY, L. RR. SLIDE
21  SHAFT, RR. STAY
22  SHIM, STAY (1.0MM)
22  SHIM, STAY (2.0MM)
23  SHIM, STAY (1.0MM)
23  SHIM, STAY (2.0MM)
24  BOLT-WASHER, 6X16
25  SCREW, PAN, 6X8
26  NUT, FLANGE, 6MM
27  NUT-WASHER, 6MM