PREVIOUS
INDEX
NEXT



 
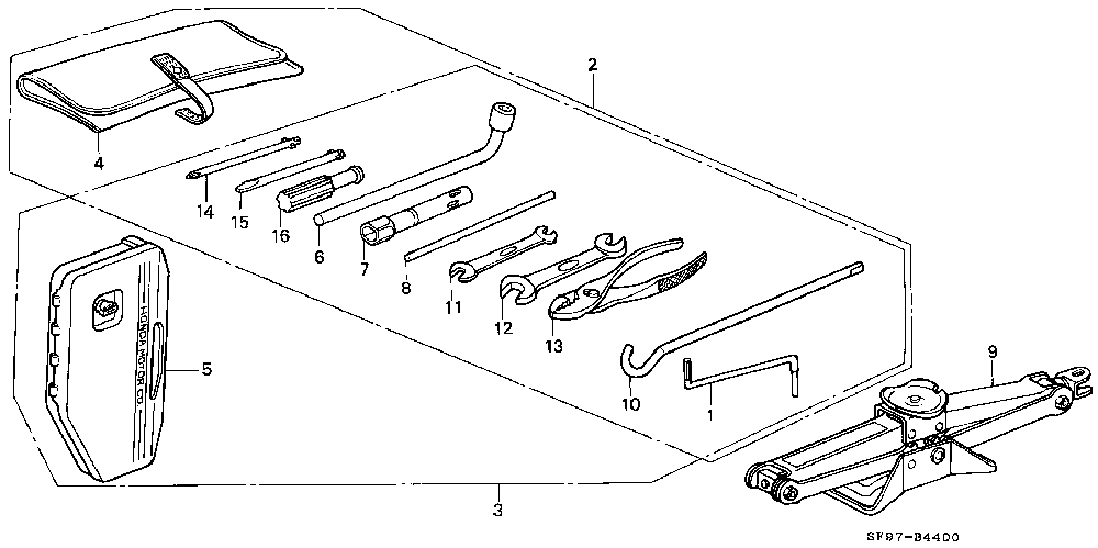
 1  WRENCH, SUNROOF
 3  TOOL SET (SUNROOF)
 5  BOX, TOOL *NH1L*
 6  WRENCH, WHEEL
 7  WRENCH, BOX (P16)
 8  SHAFT, WRENCH (RIKEN)
 9  JACK ASSY., PANTOGRAPH
10  BAR, JACK
11  SPANNER, 10X12
12  SPANNER, 14X17
13  PLIERS, 150
14  DRIVER 1, PLUS SCREW (NO.2)
15  DRIVER 3, MINUS SCREW (NO.2)
16  GRIP, SCREW DRIVER