PREVIOUS
INDEX
NEXT



 
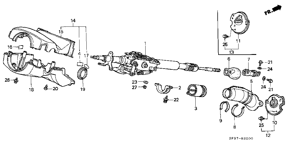
 1  COLUMN ASSY., STEERING (NIPPON SEIKO)
 2  HOLDER B, STEERING COLUMN (LH)
 3  COLLAR, STEERING RETAINER
 5  COVER, STEERING JOINT
 6  GUARD, STEERING JOINT
 7  JOINT COMP. B, STEERING
 8  CLIP A, JOINT COVER
 9  CLIP B, JOINT COVER
10  PLATE, JOINT COVER
12  DUST SEAL COMP., JOINT
14  COVER ASSY., COLUMN UPPER *NH1L*
15  COVER, COLUMN UPPER *NH1L*
16  LABEL, TILT STEERING
17  LABEL, IGNITION INFORMATION
18  COVER, COLUMN LOWER *NH1L*
19  RING, COLUMN COVER
20  SCREW, TAPPING, 4X16
21  BOLT, STEERING YOKE, 8X28 (NIPPON SEIKO)
22  BOLT-WASHER, 8X35
23  WASHER, PLAIN, 8MM
24  WASHER, LOCK
25  BOLT-WASHER, 6X16
26  SCREW-WASHER, 5X12
27  NUT-WASHER, 8MM